Copyright m.ikrout.com All Rights Reserved. ©河南贏響力文化傳媒有限公司
豫公網安備41071102000689
|
商家資料
|

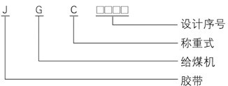
JGC-40型稱重給料機是對散狀物料進行連續輸送、計量的理想設備,并可根據現場工藝要求,實現開環或閉環的流量控制。廣泛應用于冶金、電力、煤炭、化工、水泥、輕工等行業。型號與含義
型號與含義

功能特點
獨特的防跑偏技術,確保皮帶機良好運行;
高精度稱重系統無運動摩擦、維護量極小;
無級調整傳動系統保證理想的給料量;
稱重傳感器采用雙層密封,具有良好的防潮。防腐性能和長期的穩定性;
數字式脈沖發生器提供可靠的速度信號;
具有自動調零、自動調間隔、自動診斷故障等功能;
具有獨特的電子標定或掛碼標定功能。
技術參數

稱重給料機安裝尺寸圖
